- Réf. ManoManoME18836
- Réf. fabricant8010681682787
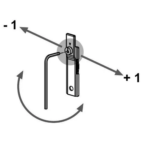
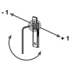
Point de fermeture pour mécanisme unidirectionnel type Olimpo ou Osiride.
Livré avec gâche rouleau à clamer.
Axe exentrique pour réglage de la compression.
Vendu à l’unité
Photos non contractuelles


















Avis
Il n’y a pas encore d’avis.